张一鸣和宿华的最后一战

虎嗅机动资讯组作品
作者 | 胡展嘉
题图 | 视觉中国
“短视频第一股”争夺战即将在中环上演,张一鸣和宿华也迎来了最后一战。
10月27日,据IFR报道,有知情人士透露,快手计划最早于下周提交在港上市申请。此前消息称美银和摩根士丹利为快手的保荐人,估值目前已经摸高到500亿美元,其最大股东腾讯或成最大受益人。
事实上,自去年开始,快手上市的消息就不断传来,有媒体称,快手自去年年底就启动了上市计划,当时第一选择是赴美上市,但今年上半年进展一度停滞,直至今年年中,才重启了赴港上市的计划。据了解,快手公司上市团队的目标是赶在2021年第一季度挂牌。
而在快手上市消息以半年为单位传得甚嚣尘上时,10月26日,据澎湃新闻称,字节跳动拟推抖音单独赴港上市,据知情人士称,高盛等多家投行曾与字节跳动沟通承销事宜,对此,字节跳动相关负责人回复表示,在考虑部分业务上市计划,但还没有最后确定。
消息还在扑朔迷离,市场却开始一片欢腾,毕竟抖音和快手在各种较量和咬合不断加剧的情况下,谁能率先上岸,在IPO这一关键战役中拔得头筹,也是这场竞争拉锯战中最为精彩的一幕。
快手比抖音更急于上市?
毫不夸张地说,抖音和快手,无论是在短视频赛道,还是直播带货赛道,双方的竞争已然进入白热化。
今年9月15日,在上海举办的第二届抖音创作大会上,北京字节跳动CEO张楠提及了字节跳动短视频产品抖音目前的用户数据,截至2020年8月,包含抖音火山版在内,抖音的日活跃用户数已超过6亿。
今年2月21日,根据快手大数据研究院发布的《2019快手内容报告》,快手日活在2020年初也已突破3亿。在日活领域,快手已经落后抖音一大步。与抖音相比,最能体现快手优势的便是电商领域。
根据行业专业研究机构发布的调查研究报告显示,抖音在今年前6个月共增加285万名直播主播,累计直播5531万场。
与此相比快手前6个月共增加72万名直播主播,直播共计1273万场。虽然抖音在主播和直播增长数量上均高于快手,但双方在带货销售额上的数据对比却是119亿元对1044亿元,快手几乎是抖音的10倍。
今年9月16日,快手电商宣布2020年8月快手电商订单量超5亿单。过去12个月,快手电商累计订单总量仅次于淘宝天猫、京东、拼多多,成为电商行业第四极。
双方优势明显,劣势也相当突出,目前面临的优势和短板也是行业的集体困境,第三方数据显示,抖音和快手已经覆盖了国内87%的互联网用户,用户使用时长占比在8.8%。
也就是说,上半场的较量已分出上下,下半场的竞争输赢,更多取决于直播电商这个变量上。

快手、抖音直播电商业务情况对比(来源于:MobTech 2020中国短视频行业洞察报告)
因此,从各方面来看,快手目前如果想追赶抖音,直播电商这个变现渠道,是其取得胜利的绝佳切入点,而电商领域对供应链、物流要求极高,同时需要大规模资金持续注入,此时快手的上市,在急迫性上显然比抖音更胜一筹。
“在电商上重点发力的打法没有错,因为这是快手最有可能实现弯道超车的地方。”一位长期关注TMT领域业内人士称。
为了能够在电商领域做更多谋划,快手早已筹谋布局。今年3月,快手对影响范围较大的部分用户的连麦PK卖货行为进行规范。
今年5月,快手平台两大家族快手平台的两大主播“散打哥”与“辛巴”纷纷退网,外界认为这是快手彰显“普惠”价值观的一大动作。
不久后,快手又与京东联姻,双方在快手小店的供应链能力打造、品牌营销和数据能力共建方面展开深入合作,共同打造短视频直播电商新生态。京东零售将优势品类商品提供给快手小店,双方共建商品池,由快手主播选品销售...
紧锣密鼓,稳步前进,“快手就是一贯的节奏和打法。目前只不过按照正常的流程和节奏稳步推进。”上述业内人士表示。

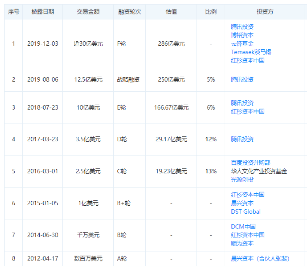
快手融资情况一览(数据来源:天眼查)
在快手重点发力电商时,抖音自然也不会被动应对,进入2020年,多位MCN机构负责人称感受到了抖音的巨大变化,抖音的发力点从短视频带货逐渐向直播转移。
“现在带货数据排名与半年前相比有明显的变化,半年前排名前20位的网红,基本以短视频达人为主,现在以直播带货能力为主的达人正在快速上升。”一位MCN负责人称。
在抖音平台上,网红、教育等对流量敏感的行业竞争早已白热化,“如果继续做大广告盘子,只能用电商来支撑。”上述负责人表示。
今年6月,在新一轮的电商业务组织架构大调整中,抖音正式成立了以“电商”明确命名的一级业务部门,以统筹公司旗下抖音、今日头条、西瓜视频等多个内容平台的电商业务运营。
据媒体报道,快手今年全年GMV目标设定为2500亿元,而抖音直播电商的GMV目标也高达2000亿元。此番上市争夺战,对于双方而言,均能为电商业务获取更多的弹药。
抖音赴港,不止在电商
“对字节跳动而言,抖音此时上市的背景可能不是从资本市场,也不是和快手竞争的角度去考虑。”千行资本创始合伙人邱炜称,“也许有,但不是最主要的。”
他表示,“双方目前想要更快速进入资本市场,无非是融到钱做更多的事情,也不排除之前资本有退出的需求。”
在他看来,首先,目前中美关系处于敏感时期,去美股上市不确定性很大,其次,现在港股市场回暖,股民对抖音快手比较熟悉,双方此时进到港股市场,也有利于获得更多融资并提高股价。“尽管现在上市不是最好的时机,但对他们来说,这个窗口也不容错过。”
最重要的是,目前抖音选择赴港上市的最大背景是TikTok(曾被看作国际版的抖音)在其他国家被封禁的遭遇,此时抖音的选择更像是这种局面下的不得不为。
从印度到美国,TikTok海外市场接连遭遇重击,据晚点 LatePost报道,在印度禁令颁布后,TikTok的损失规模可能在 60 亿美元上下。
随后,TikTok又在美国遭遇禁令,在印度和美国之外,其他国家对TikTok封禁的连锁效应也在不断发生。
今年7月,日本议员联盟建议禁用TikTok等中国APP;今年10月,巴基斯坦宣布将禁用TikTok,理由为收到社会各界“关于TikTok不道德及不雅内容的大量投诉。”
笔者曾在过往文章《TikTok“生”不由己:张一鸣绝不认输》中提到,字节跳动真正的崛起并不是完全因为中国业务,TikTok在2018年进入美国市场后,便在美国青少年中间风靡。TikTok在印度的下载量超过6亿次,据TechCrunch数据显示,TikTok在印度也拥有2亿的月活用户。一旦业务终止,等于全球化想象空间消失一半。
在出海业务频频受阻,估值想象空间不断下调的当下,字节跳动不得不把目光转向国内。
“在TikTok阴影下,投资者对抖音的信心也会不如从前。此时选择上市,更多是为了分散风险,提升投资人的信心。”一位不愿具名的业内人士称。

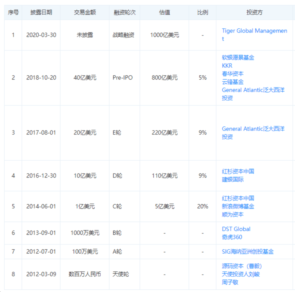
抖音背后母公司字节跳动融资情况一览(数据来源:天眼查)
在他看来,抖音选择此时上市,或许有几重考虑。
首先,在上市后,所有数据透明化和公开化,变成一家公众公司后,能够某种程度上缓解投资者和市场的焦虑;其次,分拆上市后,对于母公司字节跳动而言,也能够分散风险,当覆盖更多的受众后,在制裁来临时,也拥有了更多舆论上的筹码;再次,选择这个窗口,对快手上市的声量和影响力也会起到一定的分量作用。“可谓是一举多得。”
“其实,严格意义上来说,两家公司都没有此刻上市的紧迫必要,毕竟处于美国大选的关键节点,股票市场目前都是保守策略,机构和投资人现阶段都比较谨慎,会尽量减少仓位,增加债券投资,减少股票投资,市场是比较脆弱的。”对于抖音、快手此时上市,邱炜这样表示。
但无论如何,属于张一鸣和宿华,这两位80后的战役,已经迎来最关键的时刻。
责任编辑:


