华为申请多个HarmonyOS相关商标
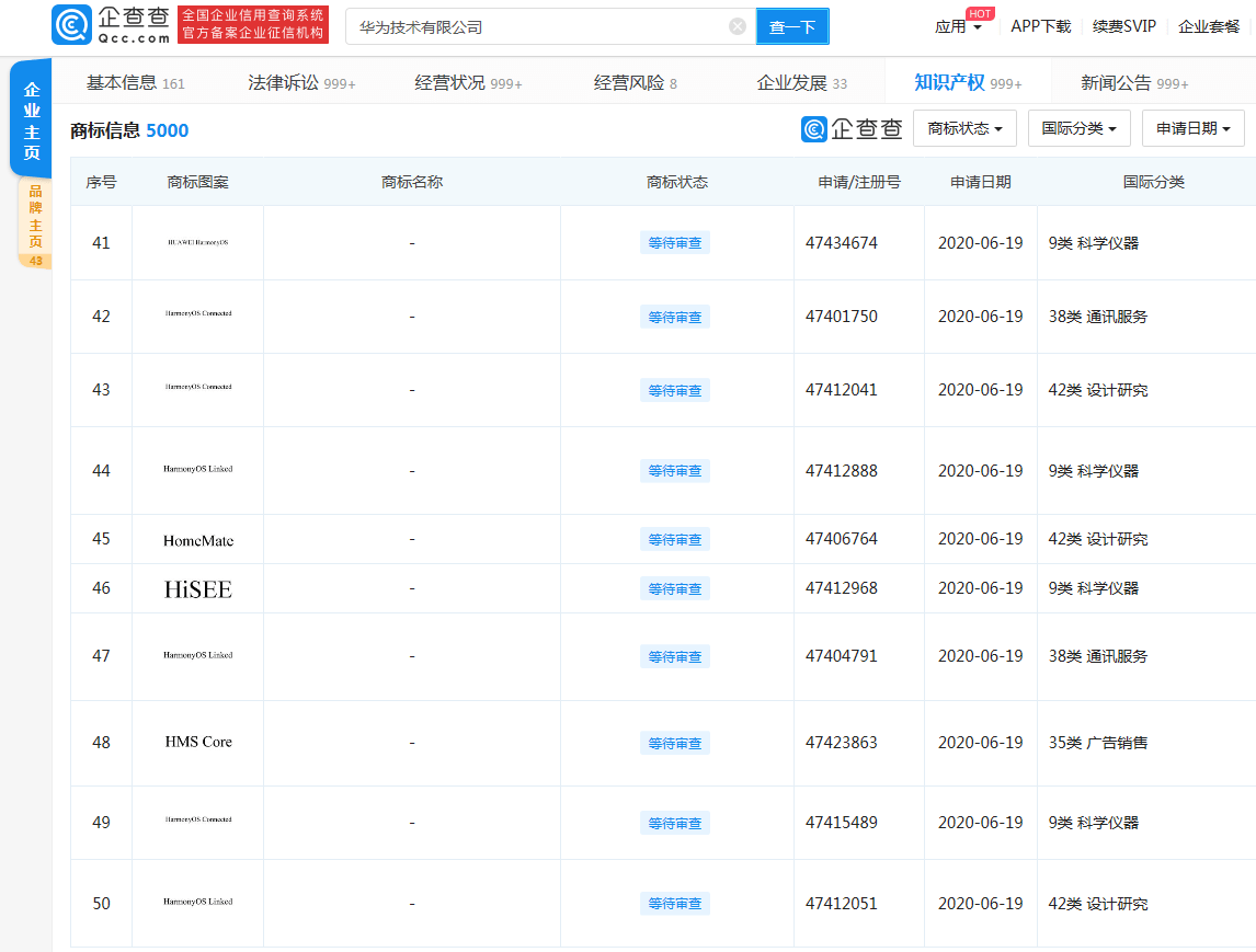
新京报贝壳财经讯 企查查数据显示,近日,华为技术有限公司申请了多个与HarmonyOS有关的商标,包括HUAWEI HarmonyOS、HarmonyOS Connected、HarmonyOS Linked等,目前状态为等待审查。

新京报贝壳财经编辑 赵泽
责任编辑:
新京报贝壳财经讯 企查查数据显示,近日,华为技术有限公司申请了多个与HarmonyOS有关的商标,包括HUAWEI HarmonyOS、HarmonyOS Connected、HarmonyOS Linked等,目前状态为等待审查。

新京报贝壳财经编辑 赵泽
责任编辑: