光明新零售连载一:神奇的排毒产品 出自被强制
文/清扬君
最近有不少网友告诉清扬君,有个专门销售神奇排毒产品的企业,产品看上去很不错,但是工厂却被强制执行266次。
网友说的这个企业是光明新零售有限公司(以下简称“光明新零售”),而网友给到清扬君的资料也充满了诱惑力,标题就是“光明膳纤饮你不得不喝的30个理由”:
1、科技含量高
2、韩国总统酵素配方
3、美国白芸豆脂肪阻断剂
4、日本吸脂纤维配方
5、不节食不忌口
6、大餐不后悔
7、消灭饮食恐惧症
8、吃货后悔药
9、清理肠道垃圾
10、剥离肠道壁毒素
11、清除身体多余油脂
12、清除脏器血管脂肪
13、阻断荤食90%脂肪吸收
14、阻断主食40%淀粉吸收
15、调理肠道菌群平衡
16、调理代谢综合症
17、减脂塑形
18、祛痘祛斑细致肌肤
19、产品有西太平洋鱼皮中胶原蛋白肽
20、附带瘦身不起褶皱
21、营造人体健康内环境
22、澳洲阳光燕麦补给营养
23、一百多种蔬菜水果酵素全方位补充营养
24、光明携手维密超强IP
25、用户反馈好评如潮
26、辅助降血糖、血压、血脂
27、分享经济43轻创业
28、新零售模式符合国家大趋势
29、公司给力系统给力
30、傻瓜式营销不囤货不压货。
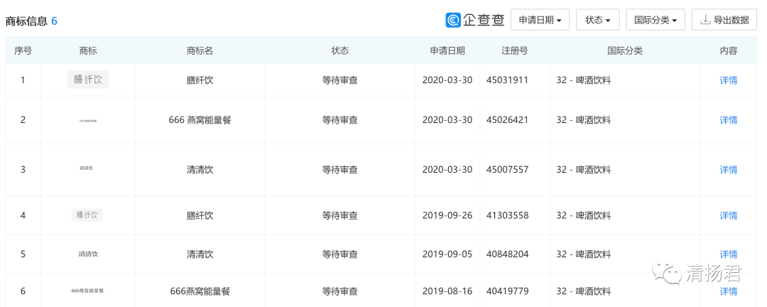
一个产品可以使用韩国总统的酵素配方,同时具有祛痘祛斑、减脂塑形、减脂塑形、调理代谢、辅助降血糖血压血脂等功效,不能不说是“神药”。而光明膳纤饮还是光明新零售的产品之一,网络资料显示,光明新零售还有光明清清饮、鸟巢666等产品。
据清扬君了解,光明新零售只申请了第32类啤酒饮料的6个商标和2个食品经营许可证,并没有申请或获得含金量较高的专利。
清扬君认为,一般的产品是不可能满足祛痘祛斑、减脂塑形、减脂塑形、调理代谢、辅助降血糖血压血脂等功效的;光明新零售或光明膳纤饮获得的只是普通的食品经营许可证,而普通食品是不可能具有祛痘祛斑、减脂塑形、减脂塑形、调理代谢、辅助降血糖血压血脂等保健或医疗功效的。光明膳纤饮如此宣传,是很明显的虚假宣传。
虽然以上的宣传内容并非光明新零售直接宣传,但网上关于“光明膳纤饮你不得不喝的30个理由”的宣传很多,光明新零售之所以自己不直接宣传,却默许代理商宣传类似内容,实际上可能是为了规避自身风险,为“甩锅”责任做准备。
令人遗憾的是,光明新零售官网并没有对其公司、产品及招商等信息做详细介绍,只有一段包含公司简介、企业文化和未来展望的简单介绍:光明新零售有限公司成立于2019年,光明新零售股份始终坚持“创造社会价值·维护金融稳定·引领公司发展·实现员工成就”的公司使命,突出金融资产服务经营主业,创新中小企业资产服务,积极构建多元化综合金融资产服务平台,大力开展集团协同和融合创新业务,致力于打造“联政企之合,掘中华之起”的品牌形象;形成了以资产收购处置、投资及资产管理、多元平台综合金融服务业务为主体,以维护金融资产稳定、塑造光明新零售品牌形象、创造更大社会价值、实现公司利益最大化为目标的综合经营业务体系。
展望未来,光明新零售股份将坚持“勤敏务实,和谐致远”发展主基调,做强资产经营管理主业,完善综合金融服务功能,加大业务创新与国际化转型,实现战略性转型发展,努力打造“诚信为本,卓越管理,共创未来”的一流金融资产服务机构。
企查查显示,光明新零售成立于2019年7月1日,实际控制人蒋亚学认购5100万,占公司51%股份;李国认购4900万,占公司49%股份。公司法定代表人、经理、执行董事为杨德坤。
不过,网友称,光明新零售实际运营的时间更早。
清扬君查阅资料发现,光明膳纤饮最早的招商资料出现在2019年4月份。当时光明膳纤饮主打排脂肪、排淀粉功效。其运营商为武汉智炬慧科技有限公司(以下简称“智炬慧”)。而智炬慧是2019年3月25日成立,其股权结构为殷先成持股51%,余杰持股49%。智炬慧也是光明新零售的独立法人投资人,只是在2019年8月1日按智炬慧的持股比例,把股份转让给殷先成51%,余杰49%;2019年9月25日,殷先成和余杰把股份转让给了蒋亚学和李国。
让网友无语的是,光明新零售的产品不仅涉嫌虚假宣传,连代加工厂也不选一个资质好一点的。
根据媒体报道和产品图片显示,光明膳纤饮的生产方为湖南泰尔制药股份有限公司(以下简称“泰尔制药”),该公司劣迹斑斑,企查查显示“历史被执行人”高达266次,案件编号高达27页之多;历史失信被执行人21次;历史行政处罚【工商局】5次;历史限制高消费 5次。
其中,行政处罚书《湘长质监罚字2014第456号》显示,2014年9月1日,泰尔制药因违反《食品安全法》第36、48条,长沙市质量技术监督局依据该法86、87条对其进行处罚。
《食品安全法》第三十六条 食品生产加工小作坊和食品摊贩等从事食品生产经营活动,应当符合本法规定的与其生产经营规模、条件相适应的食品安全要求,保证所生产经营的食品卫生、无毒、无害,食品药品监督管理部门应当对其加强监督管理。
行政处罚书《(湘)食药监食罚[2016]13号》显示,2016年6月30日,泰尔制药因为抽检水分超标被湖南省食品药品监督管理局向消费者公示。据清扬君了解,水分超标会缩短产品的保质期限,使产品易发生霉变,可能引起产品质量的下降。
清扬君认为,一个产品吹的再好,如果生产产品的工厂劣迹斑斑,如工厂没有达到食品安全要求、产品质量无法保证、和供应商及员工矛盾重重,哪里还能做到对消费者负责、对代理商负责?建议光明新零售还是抓紧时间寻找几家信用记录好的生产企业代工,然后换掉后再慢慢吹牛吧。



