「专利解密」屏下摄像技术之华星光电
【嘉德点评】华星光电该项专利的屏下摄像头技术,通过偏压控制液晶转向实现对光的调制特性,从而实现OLED屏下摄像头区既可正常显示,同时也可切换为前置摄像头功能。
集微网消息,19年12月,TCL集团近期接受兴全基金等机构调研时表示,TCL华星的屏下摄像头产品预计2020年内量产。此外,TCL还表示t4一期的良率爬坡情况好于预期,另外还在屏下摄像、极窄边框、可折叠等领域取得了一些优势。
我们知道,显示面板(OLED/LCD/AMOLED)因其在固态照明和平板显示的方向拥有巨大的发展潜力而得到了学术界和产业界的极大关注,有机发光二极管(OLED)平板可以做的更轻更薄。
OLED作为新型显示技术,具有其它一些显示技术所无以比拟的诸多优势,如广视角、高对比度、快响应、低功耗、可折叠和柔性等,因而在新世代显示器中具有强有力的竞争力。
随着OLED技术的广泛发展和应用深入,对具有更优视觉体验的高屏占比显示屏的追求已成为当前显示技术发展的潮流之一,如屏下指纹识别技术、“美人尖”和O-Cut等技术均极大的提升了显示屏的屏占比,但受限于各膜层结构的透光性和阵列基板金属走线的“纱窗效应”等对前置摄像头制造工艺方面的制约,距离真正实现全面屏时代还尚需做进一步的设计和研究开发。
为此,华星光电在19年3月28日申请了一项名为“OLED屏幕的屏下摄像头结构及OLED屏幕”的发明专利(申请号:201910242487.7),申请人为武汉华星光电半导体显示技术有限公司。
根据目前该专利公开的资料,让我们一起来看看这项屏下摄像头技术吧。
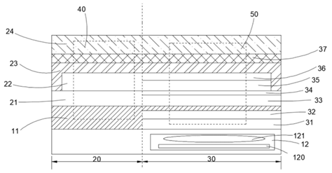
如上图,为该专利中提供的OLED屏幕的屏下摄像头结构示意图,LED屏幕的屏下摄像头结构包括可操作区域20和摄像头区域30。其中摄像头区包括LCD结构50以及摄像头结构12。可操作区包含在在摄像头区内,为OLED结构。
可操作区具体包括:衬底基板11、OLED阵列结构21、发光结构层22、薄膜封装层23、上偏光片层37和模块结构24,基底板一般为玻璃基板、聚酰亚胺薄膜和高透塑料板等材料。
摄像头区30包括:背光板结构31、底偏光片32、衬底基板11、LCD阵列结构33、透明电极层34、液晶层35、彩色滤光片层36、薄膜封装层23、上偏光片层37和模块结构24。背光板结构为透明的直接发光源结构或者半透明的直接发光结构,透明电极一般为氧化铟锡或氧化锌透明导电玻璃。
如上图,为OLED屏幕示意图,当OLED屏幕处于非工作状态时,可操作区和摄像头区均处于关闭状态,显示为全黑屏状态;而当OLED屏幕处于显示状态时,可操作区和摄像头区则均处于正常显示状态。
这是由于LCD阵列结构可以控制液晶层透过背光板结构的出射光,即摄像头区与可操作区同时处于正常显示状态时,摄像头区与可操作区在实际工作中可进行IC独立控制。
当OLED屏幕在自拍或视屏聊天时,可操作区通过驱动IC控制可操作区处于非显示状态,摄像头区的背光板结构处于关闭状态的非发光态,而LCD阵列结构处于工作状态。驱动控制液晶层的液晶可以使得外界的光能够通过液晶层,从而被摄像头结构的透镜结构所接收,以实现摄像头结构的开启状态。
因此,这种屏下摄像头结构设计可真正实现全面屏和屏下摄像头兼容的特性。以上就是华星光电发明的屏下摄像头技术,通过偏压控制液晶转向实现对光的调制特性,从而实现OLED屏下摄像头区既可正常显示,同时也可切换为前置摄像头功能。无需采用异型切割方式放置前置摄像头,从而实现了真正的全面屏。
关于嘉德
深圳市嘉德知识产权服务有限公司由曾在华为等世界500强企业工作多年的知识产权专家、律师、专利代理人组成,熟悉中欧美知识产权法律理论和实务,在全球知识产权申请、布局、诉讼、许可谈判、交易、运营、标准专利协同创造、专利池建设、展会知识产权、跨境电商知识产权、知识产权海关保护等方面拥有丰富的经验。
(校对/holly)



