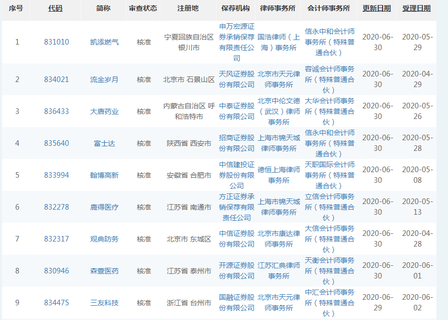
精选层又核准了一批,哪个是最亮的星?
这9家新股,大伙都看好哪家公司呢?~~感觉森萱医药不错,你怎么看?
这家公司虽然有些黑历史,但都在可接受范围内。该股的优势是:1)赛道不错,疫情导致国内原料药出口的需求大增,主板的相关股票已经集体高潮;2)业绩增长比较稳定,19年不错,20年预计会延续高增长。稍微不足的一点是主要的原料药产品市场空间都不大,且公司已经占据了较大的市场份额,未来的想象空间不大。
上一篇:说说大家关注的比亚迪-汉
下一篇:精选层首批网下申购情况小结
这9家新股,大伙都看好哪家公司呢?~~感觉森萱医药不错,你怎么看?
这家公司虽然有些黑历史,但都在可接受范围内。该股的优势是:1)赛道不错,疫情导致国内原料药出口的需求大增,主板的相关股票已经集体高潮;2)业绩增长比较稳定,19年不错,20年预计会延续高增长。稍微不足的一点是主要的原料药产品市场空间都不大,且公司已经占据了较大的市场份额,未来的想象空间不大。