快看漫画发生工商变更:昆仑万维退出公司股东
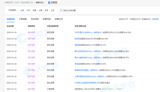
中国网科技1月16日讯 据天眼查数据显示,近日,快看漫画的运营主体快看世界(北京)科技有限公司发生工商变更,昆仑万维的投资实体之一宁波昆仑点金股权投资有限公司退出公司股东。与此同时,公司注册资本由原来的约109万元下降至约104万元。
快看世界(北京)科技有限公司成立于2014年9月,法定代表人为公司创始人 CEO陈安妮,公司经营范围包括从事互联网文化活动;出版物批发;广播电视节目制作;版权贸易等。
天眼查股东信息显示,目前公司共有8位股东,其中陈安妮本人为公司第一大股东,持股比例为61.18%。天图资本的投资实体之一北京天图兴北投资中心(有限合伙)为公司第二大股东,持股比例为14.16%。此外公司的股东还包括前海母基金的投资实体之一前海股权投资基金(有限合伙)等。
财经公众号
24小时滚动播报最新的财经资讯和视频,更多粉丝福利扫描二维码关注(sinafinance)



